
MIL-D-19326H
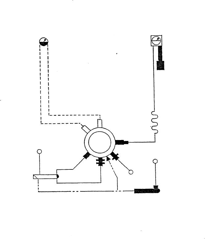
Typical installation single converter sinqle place aircraft
FIGURE 2.
(fixed converter installation)
For Parts Inquires submit RFQ to Parts Hangar, Inc.
© Copyright 2015 Integrated Publishing, Inc.
A Service Disabled Veteran Owned Small Business