
MIL-DTL-19803G
ELECTRICAL CONNECTOR TO
ELECTRICAL CONNECTOR TO
BE IN ACCORDANCE WITH
BE IN ACCORDANCE WITH
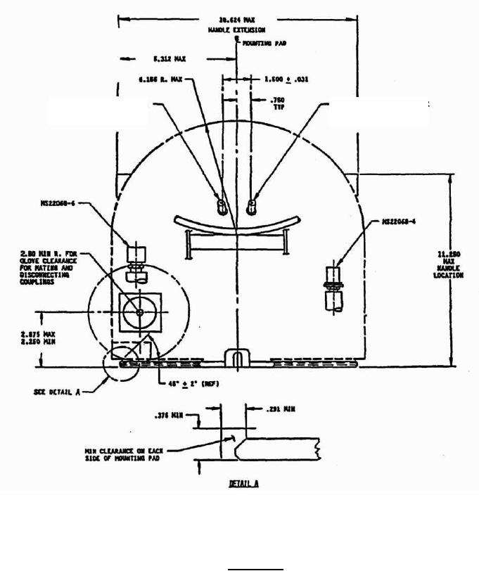
MIL-DTL-25516, "B" POLARITY
MIL-DTL-25516, "B" POLARITY
NOTES:
1. All components shall be within the specified maximum envelope.
2. Unless otherwise specified, dimensions in inches.
FIGURE 3. Front view.
26
For Parts Inquires submit RFQ to Parts Hangar, Inc.
© Copyright 2015 Integrated Publishing, Inc.
A Service Disabled Veteran Owned Small Business